建筑材料及制品燃烧性能分级
引 言
GB 8624于1986年首次发布,其后参照西德标准 DIN 4102-1;1981《建筑材料和构件的火灾特性第1部分:建筑材料燃烧性能分级的要求和试验》,对其进行了第1次修订,发布了修订版GB 8624——1997,。作为我国建筑材料燃烧性能的分级准则,GB 8624——1997在评价材料燃烧性能及其分级、指导防火安全设计、实施消防监督、执行建筑设计防火规范等方面发挥了重要作用。
2006年,参照欧盟标准委员会(CEN)制定的EN 13501-1,2002《建筑制品和构件的火灾分级第1部分:采用对火反应试验数据的分级》,对GB 8624 进行了第2次修订,发布了修订版GB 8624——2006。与1997版相比,GB 8624——2006在建筑材料及制品燃烧性能分级及其判据方面发生了较大变化,燃烧性能分级由1997版的A、B₁、B₂、B₃,四级,改变为A1、A2、B、C、D、E、F七级。
从GB 8624——2006实施情况看,存在燃烧性能分级过细,与我国当前工程建设实际不相匹配等问题。为增强标准的应用性和协调性,对GB 8624进行了第3次修订。本标准明确了建筑材料及制品燃烧性能的基本分级仍为A、B₁、₂B、B₃,同时建立了与欧盟标准分级A1、A2、B、C、D、E、F的对应关系,并采用了欧盟标准EN 13501-1:2007的分级判据。
建筑材料及制品燃烧性能分级
1 范 围
本标准规定了建筑材料及制品的术语和定义、燃烧性能等级、燃烧性能等级判据、燃烧性能等级标识和检验报告。
本标准适用于建设工程中使用的建筑材料、装饰装修材料及制品等的燃烧性能分级和判定。
2 规范性引用文引用文件
下列文对于本文件的应用是必不可小的。凡是注日期的引用文件,仅注日期的版本适用于本文件。凡是不注日期的引用文件,其最新版本(包括所有的修改单)适用于本文件。
GB/T 2406.2 塑料 用氧指数测定燃烧行为 第2部分:室温试验
GB/T 2408 塑料 燃烧性能的测定 水平法和垂直法
GB/T 5169.16 电子电工产品着火危险试验 第16部分:试验火焰50W水平与垂直火焰试验方法
GB/T 5454 纺织品 燃烧性能试验 氧指数法
GB/T 5455 纺织品 燃烧性能试验 垂直法
GB/T 5464 建筑材料不燃性试验方法
GB/T 5907 消防基本术语 第一部分
GB/T 8333 硬质泡沫塑料燃烧性能试验方法 垂直燃烧法
GB/T 8627 建筑材料燃烧或分解的烟密度试验方法
GB/T 11785 铺地材料的燃烧性能测定 辐射热源法
GB/T 14402 建筑材料及制品的燃烧性能 燃烧热值的测定
GB/T 16172 建筑材料热释放速率试验方法
GB/T 17596 纺织品 织物燃烧试验前的商业洗涤程序
GB 17927.1 软体家具 床垫和沙发 抗引燃特性的评定 第1部分:阴燃的香烟
GB/T 20284 建筑材料或制品的单体燃烧试验
GB/T 20285 材料产生烟毒性危险分级
GB/T 27904 火焰引燃家具和组件的燃烧性能试验方法
3 术语和定义
GB/T 5907 界定的以及下列术语及定义适用于本文件。
3.1制品 product
要求给出相关信息的建筑材料、复合材料或组件。
3.2材料 material
单一物质或均匀分布的混合物,如金属、石材、木材、混凝土、矿纤、聚合物。
3.3管状绝热制品 linear pipe thermal insnlation prodnct
具有绝热性能的圆形管状制品,如橡塑保温管、玻璃纤维保温管。
3.4匀质制品 homogeneous product
由单一材料组成的,或其内部具有均匀密度和组分的制品。
3.5非匀质制品 non-homogeneous product
不满足匀质制品定义的制品。由一种或多种主要或次要组分组成的制品。
3.6主要组分 substantial component
非匀质制品的主要构成质量。如:单层面密度≥1.0 kg/㎡或厚度≥1.0mm的一层材料。
3.7次要组分 non-substantial component
非匀质制品的非主要构成物质。如:单层面密度<1.0kg/㎡且单层厚度<1.0mm的材料。两层或多层次要组分直接相邻(中间无主要组分),当其组合满足次要组分要求时,可视作一个次要组分。
3.8内部次要组分 internal non-substantial component
两面均至少接触一种主要组分的次要组分。
3.9外部次要组分 exernal non-substantial component
有一面未接触主要组分的次要组分。
3.10铺地材料 flooring
可建筑制品背面(或底面)直接接触的某种制品,如混凝土墙面等。
3.12标准基材 standard substrate
可代表实际应用基材的制品
3.13 燃烧滴落物/微粒 flaming droplets/particles
在燃烧试验过程中,从试样上分离的物质或微粒。
3.14临界热辐射通量 critical heat flnx CHF
火焰熄灭处的热辐射通量或试验30min时火焰传播到的最远处的热辐射通量。
3.15燃烧增长速率指数 fire growth rate index FIGRA
试样燃烧的热释放速率值与其对应时间比值的最大值,用于燃烧性能分级。
3.16FIGRA
当试样燃烧释放热1量达到0.2MJ时的燃烧增长速率指数。
3.17FIGRA
当试样燃烧释放热量达到0.4MJ时的燃烧增长速率指数。
3.18烟气生成速率指数 smoke growth rate index SMOGRA
试样燃烧烟气产生速率与其对应时间比值的最大值。
3.19烟气毒气 ssmoke toxicity
烟气中的有毒有害物质引起损伤/伤害的程度。
3.20损毁材料 damaged material
在热作用下被点燃、碳化、熔化或发生其他损坏变化的材料。
3.21热值 calorific value
单位质量的材料完全燃烧所产生的热量,以J/kg表示。
3.22总热值 gross calorific potential
单位质量的材料完全燃烧,燃烧产物中所有的水蒸气凝结成水时所释纺出来的全部热量。
3.23持续燃烧 sustained flaming
试样表面或其上方持续时间大于4s的火焰。
4 燃烧性能等级
建筑材料及制品的燃烧性能等级见表1.
表 1 建筑材料及制品的燃烧性能等级
| 燃烧性能等级 | 名 称 |
| A | 不燃材料(制品) |
| B₁ | 难燃材料(制品) |
| B₂ | 可燃材料(制品) |
| B₃ | 易燃材料 (制品) |
5.1 建筑材料
5.1.1平板状建筑材料
平板状建筑材料及制品的燃烧性能等级和分级判据见表2.表中满足A1、A2级即为A级,满足B级、C级即为B₁,满足D级、E级即为B₂级。
对墙面保温泡沫塑料,除符合表2规定外同时满足以下要求;B₁级氧指数值OI≥30%;B₂级氧指数值OI≥26%,试验依据标准为GB/T 2406.2
表 2 平板状建筑材料及制品的燃烧性能等级和分级判据
| 燃烧性能等级 | 试验方法 | 分 级 判 据 | ||
| A | A1 | GB/T 5464 且 |
炉内温升△T≤30°C; 质量损失率△m≤50%; 持续燃烧时间=0 |
|
| GB/T 14402 |
总热值PCS≤0.2 MJ/kg; 总热值PCS≤1.4 MJ/㎡ |
|||
| A2 | GB/T 5464或 | 且 |
炉内温升△T≤50°C; 质量损失率△m≤50%; 持续燃烧时间≤20s |
|
| GB/T 14402 |
总热值PCS≤3.0 MJ/kg; 总热值PCS≤4.0 MJ/㎡ |
|||
| GB/T 20284 |
燃烧增长速率指数FIGRA≤120 W/s; 火焰横向蔓延未到达试样长翼边缘; 600s的总放热量THR≤7.5 MJ |
|||
| B₁ | B | GB/T 20284 且 |
燃烧增长速率指数FIGRA≤120 W/s; 火焰横向蔓延未达到试样长翼边缘; 600s总放热量THR≤7.5 MJ |
|
| GB/T 8626 点火时间 30s |
50s 内焰尖高度 Fs≤150mm; 50s 内无燃烧滴落物引燃滤纸现象 |
|||
| C | GB/T 20284 且 |
燃烧1增长速率指数FIGRA mj≤250 W/s; 火焰横向蔓延未到达试样长翼边缘; 600s 的总放热量THR≤150mm |
||
| GB/T 8626 点火时间 30s |
60s 内焰尖高度 Fs≤150mm; 60s 内无燃烧滴落物引燃烧滤纸现象 |
|||
| B₂ | D | GB/T 20284 且 | 燃烧增长速率指数FIGRA mj≤750 W/s | |
| GB/T 8626 点火时间 30s |
60s 内无焰尖高度 Fs≤150mm; 60s 内无燃烧滴落物引燃滤纸现象 |
|||
| E | GB/T 8626 点火时间 15s |
20s 内的焰尖高度 Fs≤150mm; 20s 内无燃烧滴落物引燃滤纸现象 |
||
| B₃ | F | 无性能要求 | ||
|
a 匀质制品或非匀质制品的主要组分。 b 非匀质制品的外部次要组分。 c 当外部次要组分的 PCS≤2.0 MJ/㎡时,若整体制品的 FIGRA mj≤20 W/s、LFS﹤试样边缘、THR≤4.0 MJ则达到A1级。 d 非匀质制品的任一内部次要组分。 e整体制品。 |
||||
5.1.2 铺地材料
铺地材料的燃烧性能等级和分级判据见表3.表中满足A1、A2级即为A级,满足B级、C级即为B₁级,满足C级、E级即为B₂级。
表 3 铺地材料的燃烧性能等级和分级判据
| 燃烧性能等级 | 试验方法 | 分 级 判 据 | ||
| A | A1 | GB/T 5464 且 |
炉内温升△T≤30°C; 质量损失率△m≤50%; 持续燃烧时间=0 |
|
| GB/T 14402 |
总热值 PCS≤2.0 MJ/kg; 总热值 PCS≤1.4 MJ/㎡ |
|||
| A2 | GB/T 5464 或 | 且 |
炉内温升△T≤50°C; 质量损失率△m≤50%; 持续燃烧时间≤20s |
|
| GB/T 14402 |
总热值 PCS≤3.0 MJ/kg; 总热值 PCS≤4.0 MJ/㎡ |
|||
| GB/T 11785 | 临界热辐射通量 CHF≥8.0 kW/㎡ | |||
| B₁ | B | GB/T 11785 且 | 临界热辐射通量 CHF≥8.0 kW/m³ | |
|
|
GB/T 8626 点火时间 35s | 20s 内焰尖高度 Fs≤150mm | ||
| C | GB/T 11785 且 | 临界热辐射通量 CHF≥4.5 kW/㎡ | ||
| GB/T 8626 点火时间 15s | 20s 内焰尖高度 Fs≤150mm | |||
| B₂ | D | GB/T 11785 且 | 临界热辐通量 CHF≥3.0 kW/㎡ | |
| GB/T 8626 点火时间 15s | 20s 内尖高度 Fs≤150mm | |||
| E | GB/T 11785 且 | 临界热辐射通量 CHF≥2.2 kW/㎡ | ||
|
GB/T 8626 点火时间 15s |
20s 内尖高度 Fs≤150mm | |||
| B₃ | F | 无性能要求 | ||
|
a 匀质量或非匀质制品的主要组分。 b 非匀质制品的外部次要组分。 c 非匀质制品的任一内部次要组分。 d 整体制品。 e 试验最长时间 30min |
||||
5.1.3 管状绝热材料
管状绝热材料的燃烧性能等级和分级判据见表4.表中满足A1、A2级即为A级,满足B级、C级即为B₁级,满足D级、E级即为B₂级。
当管状绝热材料的外径大于 300mm时,其然性能等级和分级判据按表2的规定。
表 4 管状绝热材料燃烧性能等级和分级判据
| 燃烧性能等级 | 试验方法 | 分 级 判 据 | ||
| A | A1 | GB/T 5464 且 |
炉内温升△T≤30°C; 质量损失率△m≤50%; 持续燃烧时间=0 |
|
| GB/T 14402 |
总热值 PCS≤2.0 MJ/kg; 总热值 PCS≤1.4 MJ/㎡ |
|||
| A2 | GB/T 5464 或 | 且 |
炉内温升△T≤50°C; 质量损失率△m≤50%; 持续燃烧时间≤20s |
|
| GB/T 14402 |
总热值 PCS≤3.0 MJ/kg; 总热值 PCS≤4.0 MJ/㎡ |
|||
| GB/T 20284 |
|
燃烧增长速率指数 FIGRA mj≤270 W/s; 火焰横向蔓延未到达试样长翼边缘; 600s 内总放热量 THR≤7.5 MJ |
||
| B₁ | B | GB/T 20284 且 |
火焰横向蔓延未到达试样长翼边缘; 600s 内总放热量 THR≤7.5 MJ |
|
| GB/T 8626 点火时间 30s |
50s 内焰尖高度 Fs≤150mm; 50s 内无燃烧滴落物引燃滤纸现象 |
|||
| C | GB/T 20284 |
燃烧增长速率指数 FIGRA mj≤460 W/s; 火焰横向蔓延未到达试样长翼边缘; 600s 内总放热量 THR≤15 MJ |
||
| GB/T 8626 点火时间 30s |
60s 内焰尖高度 Fs≤150mm; 60s 内无燃烧滴落物引燃滤纸现象 |
|||
| B₂ | D | GB/T 2084 且 |
燃烧增长速率指数 FIGRA mj≤2100 W/s; 600s 内总放热量 THR﹤100 MJ |
|
| GB/T 8626 点火时间 30s |
60s 内焰尖高度 Fs≤150mm; 60s 内无燃烧滴落物引燃滤纸现象 |
|||
| E | GB/T 8626 点火时间 15s |
20s 内焰尖高度 Fs≤150 mm; 20s 内无燃烧滴落物引燃滤纸现象 |
||
| B₃ | F | 无性能要求 | ||
|
a 匀质制品和非匀质制品的主要组分。 b 非匀质制品的外部次要组分。 c 非匀质制品的任一内部次要组分。 d 整体制品 |
||||
5.2建筑用制品
5.2.1 建筑用制品分为四大类:
——窗帘幕布、家具制品装饰用织物;
——电线电缆套管、电器设备外壳及附件;
——电器、家具制品用泡沫塑料;
——软质家具和硬质家具。
5.2.2 窗帘幕布、家具制品装饰用织物等的燃烧性能等级和分级判据见表5。耐洗涤织物在进行燃烧性能试验前,应按GB/T 17596的规定对试样进行至少5次洗涤。
表 5 窗帘幕布、家具制品装饰用织物燃烧性能等级和分级判据
| 燃烧性能等级 | 试验方法 | 分 级 判 据 |
| B₁ |
GB/T 5454 GB/T 5455 |
氧指数 OI≥32.0%; 损毁长度≤150mm,续燃时间≤5s,阴燃时间≤15s; 燃烧滴落物未引起脱脂棉燃烧或阴燃 |
| B₂ |
GB/T 5454 GB/T 5455 |
氧指数 OI≥26.0%; 损毁长度≤200mm,续燃时间≤15s,阴燃时间≤30s; 燃烧滴落物未引起脱脂棉燃烧或阴燃 |
| B₃ | 无性能要求 |
|
5.2.3 电线电缆套管、电器设备外壳及附件的燃烧性能等级和分级判据见表6。
表 6 电线电缆套管、电器设备外壳及附件的燃烧性能等级和分级判据
GB/T 2406.2
GB/T 2408
GB/T 8627
氧指数 OI≥32.0%;
垂直燃烧性能 V-0级;
烟密度等级 SDR≤75
GB/T 2406.2
GB/T 2408
氧指数 OI≥26.0%;
垂直燃烧性能 V-1级
燃烧性能等级
制品
试验方法
分 级 判 据
B₁
电线电缆套管
电器设备外壳及附件
GB/T 5169.16
垂直燃烧性能 V-0级
B₂
电线电缆套管
电器设备外壳及附件
GB/T 5169.16
垂直燃烧性能 V-1级
B₃
无性能要求
5.2.4 电器、家具制品用泡沫塑料的燃烧性能等级和分级判据见表7。
表 7 电器、家具制品用泡沫塑料的燃烧性能等级和分级判据
GB/T 16172
GB/T 8333
单未面积热释放速率峰值≤400 kW/㎡;
平均燃烧时间≤30s,平均燃烧高度≤250mm
燃烧性能等级
试验方法
分 级 判 据
B₁
B₂
GB/T 8333
平均燃烧时间≤30s,平均燃烧高度≤250mm
B₃
无性能要求
辐射照度设置为30 kW/㎡
5.2.5 软质家具和硬质家具的燃烧性能等级和分级判据见表8。
表 8 软质家具和硬质家具的燃烧性能等级和分级判据
GB/T 27904
GB 17927.1
热释放速率峰值≤200 kW;
5 min内总热释放量≤30 MJ;
最大烟密度≤75%;
无有焰燃烧引燃或阴燃引燃现象
热释放速率峰值≤200 kW;
10 min内总热释放量≤30 MJ;
热释放速率峰值≤200 kW;
5 min内总热释放量≤30 MJ;
最大烟密度≤75%
GB/T 27904
GB 17927.1
热释放速率峰值≤300 kW;
5 min内总热释放量≤40 MJ;
试件未整体燃烧;
无有焰燃烧引燃或阴燃现象
热释放速率峰值≤300 kW;
10 min内总热释放量≤25 MJ;
热释放速率峰值≤300 kW;
5 min内总热释放量≤40 MJ;
试件未整体燃烧
燃烧性能等级
制品类别
试验方法
分 级 判 据
B₁
软质家具
软质床垫
附录 A
硬质家具
GB/T 27904
B₂
软质家具
软质床垫
附录 A
硬质家具
GB/T 27904
B₃
无性能要求
塑料座椅的试验火源功率采用 20 kW,燃烧器位于座椅下方的一侧,距座椅底部 300 mm。
6 燃烧性能等级标识
6.1 经检验符合本标准规定的建筑材料及制品,应在产品上及说明书中冠以相应的燃烧性能等级
标识:
——GB 8624 A级;
——GB 8624 B₁级;
——GB 8624 B₂级;
——GB 8624 B₃级。
6.2建筑材料及制品燃烧性能等级的附加信息和标识见附录B。
7分级检验报告
分级检验报告应包括下述内容:
——检验报告的编号和日期;
——检验报告的委托方;
——发布检验报告的机构;
——建筑材料及制品的名称和用途;
——建筑材料及制品的详尽描述,包括对相关组分和组装方法等的详细说明或图纸描述;
——试验方法及试验结果;
——分级方法;
——结论:建筑材料及制品的燃烧性能等级;
——检验报告相关说明,参见附录C;
——报告责任人和机构负责人的签名。
附 录 A
(规范性附录)
床垫热释放速率试验方法
A.1 适用范围
本附录提供了一种测量床垫释放速率和总热释放量的方法。本附录适用于床垫,不适用于枕头、毯子或者其他床上用品。
A.2 仪器和设备
A.2.1 概述
试验设备为开放式量热计,主要由样品支架、排烟系统、点火系统等组成,试验样品放置于样品支架上,样品支架位于集烟罩下方中心,如图A.1所示。
说明:
A——集烟罩; E——样品支架;
B——集烟罩罩桾板; F——硅酸钙板或纤维水泥板;
C——床垫; G——可升降支撑平台。
D——床托;
图 A.1 试样位置
A.2.2 样品支架
A.2.2.1 样品支架用于支撑试样,表面应平整,没有毛刺,样品支架由40mm宽的角钢焊接而成,其外部尺寸不能超出试样边缘5mm。样品支架除两个横档外应完全敞开,每个横档宽25mm,位于长度方向1/3处。若放置的试样下垂高度超过19mm,应增加横档数量来阻止样品下垂。
A.2.2.2 样品支架离115mm,其高度可调节,以便燃烧器距离样品支架支撑面的距离不小于25mm。
A.2.2.3 样品支架支撑在硅酸钙板或纤维水泥板上,板的厚度13mm,长度和宽度均大于试样尺寸200mm,且表面清洁无可燃物残留。若有必要,可在样品支架下方放置可升降支撑平台。
A.2.3 排烟系统
排烟系统由集烟罩及排烟管道构成,用于吸收床垫燃烧产生的全部烟气。排烟管道中按安装有气体取样管、热电萵、差压变送器及烟气测试系统等。
A.2.4 点火源
A.2.4.1 概要
点火源包括两个T形燃烧器,见图A.2和图A.3,其中一个T形燃烧器在床垫的顶面施加火焰(水平燃烧器),另一个T形燃烧器在床垫的侧面施加火焰(垂直燃烧器)。燃烧器由不绣钢管构成,钢管的直径12.7mm,壁厚0.89mm。每个燃烧器均可调节与试样表面之间的距离,燃气为纯度95%以上的丙烷气。
说明:
A——17个孔平均分布在135mm长钢管上,水平向上;
B——不锈钢管;
C——90°T形连接;
D——燃烧器两端密封。
图 A.2 水平燃烧器
说明:
A——14个孔平均分布在110mm长钢管上,水平向上5°;
B——不锈钢管;
C——90°T形连接;
D——燃烧器两端密封。
图 A.3 垂直燃烧器
A.2.4.2 水平燃烧器
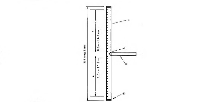
水平燃烧器的T形头长305mm,未端封闭,T形头的每一端开17个孔,从燃烧器T形头的中间8.5mm的位置开始平均分布在135mm长的钢管上,孔间距8.5mm,孔的直径为1.45mm~1.53mm。孔的方向为水平向上5°,见图A.2。
A.2.4.3垂z直燃烧器
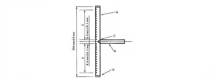
垂直燃烧器的T形头与水平燃烧器类似,其总长度为254mm。T形头的每一端开14个孔,从燃烧器T形头的中间8.5mm的位置开始平均分布在110mm长的钢管上,孔间距8.5mm。孔的直径为1.45mm~1.53mm。孔的方向为水平向上5°,见图A.3.
A.2.4.4 长明火点火器
每个T形燃烧器头部有一个长明火点火器,点火器为一支3mm的钢管,独立供燃气。点火端设置在距离T形头中央10mm的范围内。点火器火焰的大小可调节,应避免在试验开始前直接作用于试样。
A.3 试样
试样尺寸应与实际使用的床垫一致,试验样品为一个完整的床垫(包括床托)。床垫顶部距离地面总高度不大于910mm。
A.4 试验
A.4.1 试验环境
试验室应具有足够大的空间,避免热辐射对周围物体的影响,试验室内应保持气流均匀稳定,避免周围空气流对试验结果的影响,应确保距离试样顶部0.5m处的空气流速不超过0.5m/s。
A.4.2 状态调节
试验前试样应该在温度23°C±2°C,湿度50%±5%的环境中状态调节中状态调节至少48h。状态调节前应撤除包装,试样应从状态调节取出后20min内进行试验。
A.4.3 燃气流量
试验前,将水平燃烧器和垂直燃烧时间分别设置为70s和50s,点燃长明火点火器,调节火焰长度约为10mm,同时点燃两个燃烧器,丙烷气压力保持为140 kPa±5 kPa,调节水平燃烧器的丙烷流量为12.9 L/min±0.1 L/min,垂直燃烧器的丙烷流量为6.6 L/min±0.05 L/min。调节稳定后,关闭燃烧器和长明火点火器。
A.4.4 燃烧器的放置和调整
调节燃烧器位置,使T形燃烧器位于床垫长度方向中部300mm范围内,燃烧器管平行于床垫表面,水平燃烧器距床垫上表面39.0mm,垂直燃烧器距床垫侧表面42.0mm,水平燃烧器的一端与床垫边缘齐平,垂直燃烧器直放置,其中心与床垫下表面或者床垫与床托的接触面持平,见图A.4。
A.4.5 试验程序
A.4.5.1 从状态调节室取出试样,将试样品支架的中心,若有床托,床垫应放在床托上部的中心,且与床托边缘齐平。可在支架下边缘设置放物盘以接收样品燃烧脱落物。
A.4.5.2 点燃长明火点火器。
A.4.5.3 在点燃烧器前2min开始记录数据。
A.4.5.4 点燃两个燃烧器开始计时,试验时间为30min。确保燃气流量在试验过程中保持稳定。
A.4.5.5 点火开始50s时,熄灭垂直燃烧器,70s时,熄灭水平燃烧器和长明灯,移除燃烧器,继续观察样品燃烧现象。
A.4.5.6 在试验进行30min,或试样无任何燃烧迹象,如无任何可见烟气、持续火焰、闷烧或阴燃,可结束试验并记录试验时间。
A.4.6 试验现象
在整个试验过程中,应记录相关试验现象及时间,包括熔融滴落,火势急剧增大的时间,试样是否烧穿等现象。
A.5 试验结果
试验完成后,记录样品的热释放速率峰值和点火开始最初10min内的总热释放量。
(a)侧视图
(b)俯视图
图A.4水平燃烧器和垂直燃烧器位置
附 录 B
(规范性附录)
燃烧性能等级的附加信息和标识
B.1 附加信息
B.1.1 建筑材料及制品燃烧性能等级附加信息包括产烟特性、燃烧滴落物/微粒等级和烟气毒性等级。
B.1.2 A2级、B级和C级建筑材料及制品应给出以下附加信息:
——产烟特性等级;
——燃烧滴落/微粒等级(铺地材料除外);
——烟气毒性等级。
B.1.3 D级建筑材料及制品应给出以下附加信息:
——产烟特性等级;
——燃烧滴落物/微粒等级。
B.1.4 产烟特性等级按GB/T 20284或GB/T 11785试验所得出来的数据确定,见表B.1。
B.1.5 燃烧滴落物/微粒等级通过观察GB/T 20284试验中燃烧滴落物/微粒确定见表B.2。
B.1.6 烟气毒性等按GB/T 2085试验所得的数据确定,见表B.3.
表 B.1 产烟特性等级和分级判据
| 产烟特性等级 | 试验方法 | 分 级 判 据 | |
| s1 | GB/T 20284 | 除铺地制品和管绝热制品外的建筑材料及制品 | 烟气生成率指数SMOGRA≤30㎡/s²;试验600s总烟度生成量TSP,≤50m³ |
| 管状绝热制品 | 烟气生成速率指数SMOGRA≤105m³/s²;试验600s总烟气生成量TSP≤250m³ | ||
| GB/T 11785 | 铺地材料 | 产烟量≤750m³Xmin | |
| s2 | GB/T 20284 | 除铺地制品和管状绝热制品外的建筑材料及制品 |
烟气生成速率指数SMOGRA≤180㎡/s²;试验600s总烟气生成量TSP≤200㎡ |
|
|
管状绝热制品 | 烟气生成速率指数SMOGRA≤580㎡/s²;试验600s总烟气生成量TSP≤1500㎡ | |
| GB/T 11785 | 铺地材料 | 未达到s1 | |
| s3 | GB/T 20284 | 未达到s2 | |
表 B.2 燃烧滴落物/微粒等级和分级判据
| 燃烧滴落物/微粒等级 | 试验方法 | 分 级 判 据 |
| d0 | GB/T 20284 | 600s内无燃烧滴落物/微粒 |
| d1 | 600s内燃烧滴落物/微粒、持续时间不超过10s | |
| d2 | 未达到d1 |
表 B.3 烟气毒性等级和分级判据
| 烟气毒性等级 | 试验方法 | 分 级 判 据 |
| t0 | GB/T 20285 | 达到准安全一级 ZA |
| t1 | 达到准安全二级 ZA | |
| t2 | 达到准安全三级 ZA |
B.2 附加信息标识
当按照B.1规定需要显示附加信息时,燃烧性能等级标识为:

示例:GB 8624B₁(B-s1、d0、t1),表示属于燃烧B₁级建筑材料及制品,燃烧性能细分级为B级,产烟特性等级为s1级,燃烧滴落物/微粒等级为d0级,烟气毒性等级为t1级。
附 录 C
(资料性附录)
检验报告相关说明
C.1 建筑材料及制品的实际应用
试验安装由建筑材料及制品的最终应用状态确定,制品的燃烧性能等级与实际应用状态相关,应根据制品的最终应用条件,确定的试验的基材及安装方式。试验应选用标准基材,当采用实际使用或代表其实际使用的非标准基材时,应明确应用范围,即试验结果仅限于制品在实际应用中采用相同的基材。对于粘结于基材的制品,试验结果的应用由粘结方式来确定,粘贴方式和粘接剂的属性、用量等由试验委托单位提供。
C.2 试样厚度
对于在实际应用中有多种不同厚度的制品,当密度等可能影响燃烧性能的参数不变时,若最大厚度和最小厚度制品燃烧性能等级相同,则认为在中间厚度的制品也满足该燃烧性能等级,否则,应对每一厚度的制品进行判定。
C.3 特别说明
对于以下材料:混凝土、矿物棉、玻璃纤维、石灰、金属(铁、钢、铜)、石膏、无有机混合物的灰泥、硅酸钙材料、天然石材、石板、玻璃、陶瓷,任何一种材料含有的均匀分散的有机物含量不超过1%(质量和体积),可不通过试验即认为满足A1级的要求。对于由以上一种或多中材料分层复合的材料或制品,当胶水含量不超过0.1%(质量和体积)时,认为该制品满足A1级的要求。
参考文献
【1】 GB/T 25207 火灾试验 表面制品的实体防间火试验方法
【2】 ISO 12949 床垫热释放速率试验方法
【3】 EN 13501~1:2007 建筑制品和构件的火灾分级 第1部分:采用对火反应试验数据的分级
1.本着“开放、协作、分享”的互联网精神,我们欢迎各方自媒体、传统媒体与机构,转载、引用染化在线的原创内容,但必须注明来源自染化在线网,否则我们将依法追究侵权责任。
2.原则上,我们同意在注明出处的前提下,各方使用染化在线的原创素材(图片、视频等)。
3.染化在线网尊重各方知识产权,保护原创作者的合法权益。如发现本站文章存在版权问题,请联系微信rhzxzjf,我们将及时核查、处理。